Vòng bi cầu rãnh sâu một dãy là loại vòng bi có tiếp xúc góc hướng tâm và là vòng bi phổ biến nhất trên thị trường bởi tính ứng dụng đại trà. Chúng có nhiều kích cỡ với một số tùy chọn có thể có như bịt kín bằng tấm chắn hoặc phớt, có vòng giữ, khe hở khác nhau...
Vòng bi NTN 6205ZZCM/5K là vòng bi cầu rãnh sâu một dãy, rất thông dụng trên thị trường, với nhiều mục đích sử dụng khác nhau, Chất lượng của vòng bi 6205 của NTN được người tiêu dùng đánh giá cao về độ bền và giá cả phù hợp với phần lớn nhu cầu từ người dùng.

Vòng bi NTN 6205ZZCM/5K sử dụng 2 nắp phớt bằng thép (ZZ), bên trong có sẵn mỡ bôi trơn (5K), rất thuận tiện cho việc lắp đặt và sử dụng mà không cần quan tâm tới việc bôi trơn vòng bi.

THÔNG SỐ KỸ THUẬT NTN 6205ZZCM/5K |
|
| Thương hiệu | NTN |
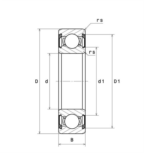
| d - Đường kính bên trong | 25 mm |
| D - Đường kính bên ngoài | 52 mm |
| B - Chiều rộng vòng trong | 15 mm |
| rs - Bán kính fillet tối thiểu | 1 mm |
| Khe hở vòng bi | tiêu chuẩn CM |
| Trọng lượng | 0,128 kg |

HIỆU SUẤT SẢN PHẨM |
|
| C - Tải trọng động | 15,5 kN |
| C0 - Tải trọng tĩnh | 7,85 kN |
| Cu - Tải trọng giới hạn mỏi | 0,55 kN |
| f0 - Hệ số | 13.9 |
| N lim - Tốc độ giới hạn bôi trơn mỡ | 13000 tr/min |
| Tmin - Nhiệt độ hoạt động tối thiểu | -40 °C |
| Tmax - Nhiệt độ hoạt động tối đa | 150 °C |

ABUTMENT |
|
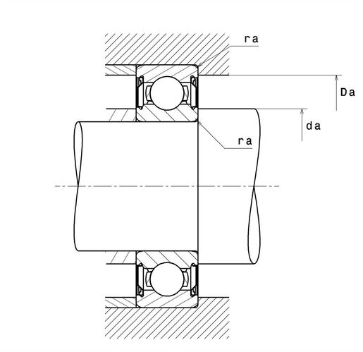
| da min - Đường kính vai tối thiểu IR | 30 mm |
| Da max - Đường kính vai tối đa OR | 47 mm |
| ra max - Bán kính fillet vỏ trục tối đa | 1 mm |

Nơi bán Vòng bi 6205ZZCM/5K chính hãng NTN
VOBICO - Đại lý uỷ quyền vòng bi NTN chính hãng tại Việt Nam.
Add: 164 Thanh Bình, Phường Mộ Lao, Quận Hà Đông, Hà Nội
Hotline hỗ trợ 24/7: 0792.269.269 - 0565.879.666 - 0587.776.776

